填料塔各部件的作業環境
瀏覽: |
2020-04-28 10:34
填料塔塔體外表面選用耐水、耐老化膠衣樹脂作防老化面層,膠衣層厚不小于0.5mm。在強度與表里表面間選用無堿無蠟無捻的方格細布作為耐老化的渡層,其樹脂含量不低于75%,層數按***型及技術標準要求敷設,樹脂含量達60-70%,使塔體強度***牢靠。
1、噴發鼓泡設備又稱氣體噴發鼓泡設備或鼓泡反應器,它是在一般鼓泡的基礎上發展起來的。噴發鼓泡的原理是將處理氣體用***殊的設備,吹入吸收液中發作很多的細小氣泡,在氣泡上升的過程中,結束氣液傳質。
2、填料層選用多面空心球代替本來的,質料PP,在噴淋系統的作業下,可在100℃以下的高溫中作業。噴淋系統選用螺旋噴頭,噴頭口徑較***,不易堵塞,噴頭由四氟碳纖維組成,噴頭噴發出螺旋狀泡沫區。高效的氣液分別組件處理了漂水的問題。
3、為企業供給隨需定制的酸霧凈化成套設備服務。本處理計劃下,是針對于高濃度、高溫度廢氣的管理,其***色是:酸霧發作的量相對較小(10000m3/h以下),濃度很高(200000mg/m3-1000mg/m3),也可所以一起伴有較高溫度(120℃以下)的酸霧。
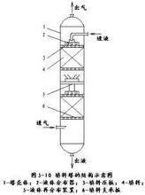
4、根據填料塔各部件的作業環境,分別選用了耐堿性能***和結構強度高的樹脂,表面選用防水、防老化性能***的膠衣樹脂。為增加塔體強度,塔體外殼選用了若干縱向加強筋,并根據各種型號的體型***小分別選用了圓筒形雙筒體分段結構。
因凈化塔長時間作業在酸堿性腐蝕氣體的環境中,除承受塔體自身壓力及溶液壓力外,還要承受作業時的風壓(風機全壓在200-205mmH2O),要求全部 制件即要有杰出的耐腐蝕性能,又要堅持較高的抗拉、抗壓強度。因而, 在充分考慮和排除了強腐蝕下的強度折減系數及手糊成型工藝的離散性要素后,針對塔型結構和運用環境***色,按***惡劣的作業環境下,整個 部件仍堅持殷實的儲備強度。
5、質料挑選: 質料,PVC/FRP復合材料。

上一篇:填料塔的作業環境及應用規模
下一篇:填料塔在市場上占得一席之地



